细品教材

高高的旗杆,矗立在操场上,旗手缓缓向下拉绳子,旗子就会徐徐上升,你知道这是什么原理吗?
旗杆的顶部安装有一个滑轮,它的轴固定不动,系着旗的绳子通过轴上的滑轮可以上下移动,这种装置就叫做定滑轮,利用这种装置可以巧妙改变绳子的受力方向,使旗子升上高高的旗杆.
一、定滑轮和动滑轮★★★
问题探究
小明家买了一套四楼的住房,进行装修时,由于楼梯不够宽,长木料不能通过楼梯运上楼,你能想一些办法帮他把木料运上楼吗?
探究发现

要将木料运上楼,我们可以采用如上图甲、乙所示的两种方法,在这两种方法中,我们用的两种简单机械都是周边有槽、能绕轴转动的轮子,我们称这种简单机械为滑轮.
根据滑轮的特点,滑轮可分为定滑轮和动滑轮.
1.定滑轮:如图甲所示,使用滑轮时,轴的位置固定不动的滑轮叫定滑轮.学校旗杆的上端,高楼大厦的电梯中,就使用了定滑轮.
2.动滑轮:如图乙所示,轴的位置随物体一起运动的滑轮叫做动滑轮.
状元笔记
判断是定滑轮还是动滑轮,关键是看它的轴是否随物体一起运动.拉动绳子时,物体移动,滑轮转,但定滑轮轴的位置不动,动滑轮轴的位置随物体移动.
二、探究定滑轮和动滑轮的特点★★★★
提出问题
定滑轮和动滑轮有哪些用途?它们各有什么特点?
进行实验

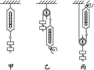
(1)用弹簧测力计测钩码的重力(图甲);
(2)分别安装定滑轮和动滑轮(图乙、丙),并记下钩码和弹簧测力计的位置;
(3)匀速拉动弹簧测力计,使钩码匀速上升一段距离;
(4)记录弹簧测力计拉力的大小和方向,用刻度尺量出钩码升高的距离和测力计移动的距离并记录下来.

分析论证
(1)使用定滑轮提升重物时,所用拉力大小与物体重力相等,方向与物体提升方向相反,弹簧测力计移动距离与重物提升距离相等;
(2)使用动滑轮时,所用拉力近似等于钩码重力的一半,方向与钩码被提升方向相同,弹簧测力计移动的距离是钩码提升高度的2倍.
探究结论
使用定滑轮既不省力,也不省距离,但可以改变力的方向.使用动滑轮能省一半的力,但要多移动一倍的距离,不能改变用力的方向.
状元笔记
因为滑轮可以连续旋转,因此可以看做是能够连续转动的杠杆,即杠杆的变形,故可以用杠杆的平衡条件来分析它的作用.
理论分析
定滑轮和动滑轮的实质
(1) 定滑轮可以看做是一个变形的杠杆,如图所示.

滑轮的轴相当于支点,动力臂和阻力臂都等于滑轮的半径,根据杠杆的平衡条件可知:F=G,所以不省力.因此定滑轮的实质是一个等臂杠杆.
(2) 动滑轮也可以看做是一个变形的杠杆,如下图所示.

支点O在滑轮的边缘上,动力臂l1为阻力臂l2的两倍,故动力F1是阻力F2的二分之一,即动滑轮能够省一半力.因此动滑轮的实质是动力臂是阻力臂两倍的省力杠杆.
三、滑轮组★★★
单独使用定滑轮可以改变动力的方向,但不省力;而单独使用动滑轮则能省力,却不能改变动力的方向,想既省力又改变力的方向就要把定滑轮和动滑轮组合起来使用,这样就组成了滑轮组.
(1)滑轮组是由若干个定滑轮和动滑轮匹配而成的,可以达到既能省力又能改变力的方向的使用效果,但同时要付出的代价是多移动距离.使用中,省力效果如何,取决于承担重物的绳子的股数.
使用滑轮组时,有几股绳子吊着物体,提起物体所用的力就是物重的几分之一.即F=
G.
状元笔记
滑轮组中,承担物重的是吊着动滑轮的那几段绳,包括拴在动滑轮框上的和最后从动滑轮引出的拉绳,而跨过定滑轮的绳子,包括最后从定滑轮引出的拉绳,只起改变作用力方向的作用.
(2)确定承担重物绳子的股数n的方法.
在动滑轮与定滑轮之间画一条虚线,将它们隔离开来,只算绕在动滑轮上的绳子股数.
如下图所示

动滑轮上有4股绳子,拉力是物重的四分之一;
下图中动滑轮上有5股绳子,拉力是物重的五分之一.

利用滑轮组提起物体时,动力F、通过的距离s,与物体被提高的高度h的关系是s=nh(n表示拉物体的绳子股数).
(3)滑轮组的省力情况
①滑轮组竖放:
使用滑轮组时,滑轮组用几段绳子吊着物体,提起物体所用的动力就是物重的几分之一.即F动=
G物.
此式成立条件:忽略滑轮的重力以及绳、轮摩擦.若忽略摩擦但考虑动滑轮的重力时,此式变为F动=
(G物+G动).
物体上升距离与绳自由端移动的距离关系为:h物=
s绳.
②滑轮组横放:
使用滑轮组时,滑轮组用几段绳子拉着物体做匀速直线运动,拉力大小就是物体所受摩擦力的几分之一.不计绳、轮摩擦时,即F拉=
F摩.
物体移动距离与绳自由端移动距离关系:s物=
s绳.
梳理整合
本节主要学习了定滑轮和动滑轮的概念、实质、特点及滑轮组的使用,通过学习我们应知道定滑轮、动滑轮、滑轮组并能识别它们,理解定滑轮、动滑轮、滑轮组的特点与实质,能用来解决简单的问题,会组装简单的滑轮组.

思维感悟
滑轮及滑轮组的比较
